参数化元件
【温馨提示】:以下压缩文件为分步DWG文件,请解压后使用:
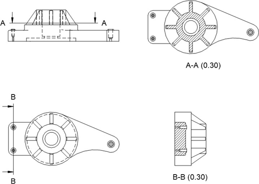
1、打开 support_2.dwg

2、切换到布局(layout)查看视图和剖面图

3、打开 holeEdge_2.dwg

4、查看 BS_SUBTRACT 和 BC_UNITE 图层

5、更改 Diameter ? -> ? Depth 1 -> 2 _edgeAngle 45 -> 55

6、切换到 Support_2 模型,然后通过插入组件命令(BMINSERT)插入 holeEdge 三次并与相邻圆弧对齐。

7、关闭图层BC_SUBTRACT 和 BC_UNITE,检查模型和图纸。


8、在机械浏览器中选择一对刚插入的孔,然后到属性面板将更改属性D =7 -> 7 及Depth= 1->0.8


9、检查更改的图纸(孔的图形已经更改)
10、打开 dwg 并将其加入到组件面板,通过创建组件命令(BMCREATECOMPONENT),定义名字为:Rib,类别为DEMO。



11、切换回 support_2 模型,单击Rib 组件进行插入
12、确保开启了动态UCS(热键 F6)
13、将筋板放在圆形边缘的四分之一处


14、在机械浏览器中选择“刚插入的 Rib”,并在中心孔周围创建一个具有 6 个实例的环形数组阵列
(array polar)

15、在机械浏览器中将数组实例数改为 8


16、更改 Rib 的参数: Angle -> 55 H -> 43

17、检查更新的图纸

